资讯 
了解行业以及华进新闻资讯。
ACIP原创精读 | GE在风电领域有哪些杀手专利?
2020-08-21
陈 素 华进专家委员会研究部
>>> 引 言
根据美国国际贸易委员会(ITC)官网发布的消息(337-TA-3482),通用电气公司(GE)于2020年7月31日在ITC发起337条款诉讼,状告西门子歌美飒(Siemens Gamesa)的“变速风力发电机及其部件”侵权GE的两件美国发明专利(US 7629705, US 6921985)。这是GE在风电领域发起的又一波重大专利诉讼!

>>> GE在风电领域的
美国专利诉讼解析
众所周知,风电是现阶段发展最快的可再生能源,在全球电力生产结构中的占比逐年增加,具有广阔的发展前景。伴随着风电的商业化发展,市场竞争越来越激烈,而专利诉讼则成为打击竞争对手的有利武器。作为风电巨头之一的GE,尤其擅长利用专利诉讼作为竞争武器。
GE在风电领域至少在美国发起过三波重大专利诉讼:
· 第一波专利诉讼发生在2008-2010期间:
GE利用US 5083039、US 6921985、US 7321221三项美国专利在ITC发起337条款诉讼,试图将日本三菱重工的变速风力涡轮机排除在美国市场之外,但是ITC裁定三菱重工不违反337条款。GE又向美国德克萨斯北区联邦法院提起诉讼,诉三菱重工侵权US 6921985和US 7321221两项美国专利。虽然三菱重工进行了反诉,但是最终美国法院判决三菱重工专利侵权成立,三菱重工需赔偿1.69亿美元。
· 第二波专利诉讼发生在2017-2019年期间:
GE利用US 6921985、US 7629705诉丹麦维斯塔斯(Vestas)专利侵权,涉及“低电压穿越技术”和“零电压穿越技术”。维斯塔斯随即发起反诉,声称GE侵犯了维斯塔斯的US 7102247和US 7859125两项美国专利。2019年6月,二者的专利侵权纠纷达成全面和解。
· 目前,正在发生第三波专利诉讼:
GE利用US 6921985、US 7629705两项美国专利依据337条款在ITC诉西门子歌美飒专利侵权,涉及“低电压穿越技术”和“零电压穿越技术”……
专利诉讼的对抗性非常强,而且GE针对的都是世界级风电巨头,因此,GE敢于挑起战争,离不开其所掌握的杀手专利。
所谓杀手专利,是指非常基础的但是又没有被写入标准的专利,同行无法绕开,或者绕开的代价很大。下面我们就来分析一下GE用来主张权利的那些杀手专利。
· 第5083039号美国专利(039专利)[1]:
039专利于1992年1月获得授权,名称为:“变速风力涡轮机(Variable Speed Wind Turbine)”,是风力涡轮机变速技术的开创性专利。该专利使得涡轮机能够将不同速度的风转换成适于输送到公共电网的能量。相比以前的固定速度的系统,该变速风力涡轮机能够从风中提取更多的能量,并且能够降低来自传动系统上的转矩的压力,以延长涡轮机的寿命。

039专利最早的所有人是U.S. Windpower, Inc.。鉴于其重要性,该专利成为风电领域中各企业的争夺目标,因此,039专利的所有权发生过多次改变,曾经先后被美国风电行业的一些最为知名的企业(包括KenetechWindpower,Inc.、Zond Energy System, Inc. 等等)拥有。1995-1998期间,Kenetech公司和后来的Zond公司利用039专利向ITC发起337诉讼,成功阻止了德国Enercon公司将其变速涡轮机出口至美国。039专利最终在2002年被通用电气公司(GE)收购。GE在2008年针对三菱重工的337条款诉讼中就使用了039专利。
除了美国之外,039专利还在丹麦、德国、西班牙、日本、加拿大、澳大利亚具有同族专利,但是该专利没有进入中国。目前,该专利在全球范围内已经因为被撤销或期限届满而失效。
· 第6921985号美国专利(985专利):
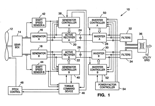
985专利于2005年7月26日获得授权,名称为:“低压穿越风力涡轮发电机(Low Voltage Ride Through for Wind Turbine Generators)”。该专利技术使得与配电网连接的风力涡轮发电机具有低电压穿越能力,从而在剧烈的电压波动期间保持与电网同步,保护电力变换器和发电机免受损害……

GE在先后针对三菱重工、维斯塔斯、西门子歌美飒的三波重大专利诉讼中,都使用了985专利。
除了美国之外,985专利还在丹麦、西班牙、捷克、加拿大、澳大利亚、中国、巴西、印度具有同族专利。985专利在中国的同族专利为 CN 100425827C,申请日为2004年1月23日,保护期可至2024年1月23日。
· 第7321221号美国专利(221专利):
221专利于2008年1月22日获得授权,名称为:“风力发电设备及其操作方法(Method for Operating a Wind Power Plant and Method forOperating it)”。该专利技术旨在克服阵风导致的能源波动对风力发电设备的影响,使得在电压下降之后稳定电源电压而不会危害到风力发电设备中的电气元件……

GE在2008年针对三菱重工的诉讼中使用了221专利。
除了美国之外,221专利还在德国、捷克、加拿大、澳大利亚、中国、巴西、印度具有同族专利。221专利在中国的同族专利为 CN 100367661C,授权日为2008年2月6日,因未缴年费,已经自2015年7月17日失效。
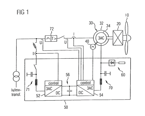
· 第7629705号美国专利(705专利):
705专利于2009年12月8日获得授权,名称为:“用于操作电机的方法和设备(Method and Apparatus for Operating Electrical Machines)”。该专利涉及零电压穿越技术,用于克服电网电压波动对风力涡轮发电机的影响,保护电力变换器和发电机免受损害……

GE在先后针对维斯塔斯、歌美飒的专利诉讼中,都使用了705专利。
除了美国之外,705专利还在丹麦、西班牙、中国具有同族专利。在中国的同族专利(1)为 CN 101166010 B,申请日为2007年10月19日,保护期可至2027年10月19日;在中国的同族专利(2)为 CN 103414411 B,申请日为2007年10月19日,保护期可至2027年10月19日。

>>> GE在风电领域的
中国专利布局分析
中国有世界上最丰富的风力资源。20世纪70年代末期,中国开始引进国外风电机组建设示范电场,1986年5月,首个示范性风电场马兰风力发电场在山东建成并网发电。
从第一个风电场建成至今,中国风电产业发展经历了早期示范阶段(1986-1993)、产业化探索阶段(1994-2003)、快速成长阶段(2004-2007)和高速发展阶段(2008-2010),并且在2010年,中国风电装机容量超越美国,成为世界第一。中国风电产业发展随后转入调整阶段(2011-2013)以及稳步增长阶段(2014年至今)。据预测,至2023年,中国将始终是全球风电第一大市场。[2]
经过专利检索发现,在风电领域的中国专利/专利申请中,数量排名居前的申请人包括:GE、金风科技、国家电网、西门子、维斯塔斯,等等。其中GE是风电领域的中国专利/专利申请数量最多的外国企业。截至2020年8月13日,利用Patentics的中国专利数据库检索发现,GE在风电领域至少拥有467项有效发明专利、18项有效实用新型,和83项公开的发明专利申请。这些中国专利/专利申请涉及风力涡轮机组技术,包括发电涡轮机、控制系统、叶片等相关技术。
经过对GE在风电领域的这些中国有效专利/专利申请进一步统计分析,可以得到以下发现:
被引用数平均为4.21,有15项被引用次数达20次以上,其中公开号为CN101672252B的专利“风力涡轮机及其控制方法”被引用次数最高,达61次。专利文献被引用次数高,一方面反映了该专利作为基础技术的影响力较大,即对本领域后续技术创新的贡献较大;另一方面体现出该专利对后续专利/专利申请的权利限制程度较大,因而具有较高的质量。[3]
平均权项个数14.60,平均独立权项个数2.40,保护层次较为丰富。特征度平均为15.57。所谓特征度是Patentics对于独权1技术特征个数的计算指标,表示独权1中技术特征越少,技术限制越少,而保护范围越大;反之特征度越大,保护范围会越小。一般来说,特征度是15-23之间为佳。该统计结果表明GE在风电领域的这些中国专利/专利申请的质量较高。
另外,这些专利的平均同族数、平均同族国家数分别为6.15和4.14,这表明GE在风电领域的专利技术的全球化程度比较高,并且表明GE非常重视中国市场。
根据GE的技术研发重点、专利申请的同族数、同族国家数、专利文献被引次数等因素考虑,并删除已届满、被驳回、视为撤回等已失效的专利/专利申请,得出GE在风电领域的重要的中国专利/专利申请至少包括:
| 序号 | 授权公告号 | 标题 | 申请日 |
| 1 | CN100353054C | 风动设备的控制方法及风动设备 | 2002/12/20 |
| 2 | CN1329657C | 用于风力涡轮的转子的轮毂 | 2003/04/12 |
| 3 | CN100482940C | 风力发电站、风力发电站的控制装置和用于操作风力发电站的方法 | 2003/05/02 |
| 4 | CN100347444C | 风力发电设备及其轴承组件 | 2003/07/15 |
| 5 | CN100360796C | 制造转子叶片的方法,转子叶片和风能装置 | 2003/08/04 |
| 6 | CN100425827C | 具有低压克服控制器的风轮机发电机和控制风轮机组件的方法 | 2004/01/23 |
| 7 | CN100459364C | 风力发电场及其操作方法 | 2004/04/08 |
| 8 | CN100473825C | 基于轴的径向位移进行风力涡轮机转子载荷控制的方法和设备 | 2004/07/14 |
| 9 | CN100375364C | 变速风轮机发电机系统的网络及控制方法 | 2004/08/18 |
| 10 | CN100431236C | 风力涡轮发电机控制系统 | 2004/09/03 |
| 11 | CN100458605C | 为风力涡轮发电机系统提供远程访问的各种方法和设备 | 2004/09/29 |
| 12 | CN1871432B | 风力涡轮机系统的控制 | 2004/10/18 |
| 13 | CN1707262B | 转子叶片上冰的检测的方法和设备 | 2005/04/11 |
| 14 | CN1789706B | 用于被动减小风力涡轮机中的荷载的系统和方法 | 2005/12/16 |
| 15 | CN1793643B | 风力涡轮机叶片上的主动流修正 | 2005/12/23 |
| 16 | CN1873219B | 用于在大风速条件下操作风场的系统和方法 | 2006/04/03 |
| 17 | CN1940289B | 基于逆风风速控制风力涡轮的系统和方法 | 2006/07/31 |
| 18 | CN1928352B | 桨距控制电池备用方法和系统 | 2006/09/11 |
| 19 | CN101037986B | 用于风力涡轮的转子 | 2006/11/17 |
| 20 | CN101029629B | 用于具有空气动力学特征部件的风力涡轮机的转子叶片 | 2006/11/17 |
| 21 | CN1976210B | 用于公共系统和风轮机控制的系统和方法 | 2006/11/29 |
| 22 | CN1982702B | 风能涡轮机 | 2006/12/14 |
| 23 | CN1982698B | 风力涡轮机转子叶片 | 2006/12/15 |
| 24 | CN101042114B | 具有风力助冷系统的风力涡轮发电机及其冷却方法 | 2007/01/22 |
| 25 | CN101042111B | 控制转子转速的方法和装置 | 2007/03/06 |
| 26 | CN101092935B | 用于控制旋转机器的方法和设备 | 2007/04/19 |
| 27 | CN101092941B | 用于供应和/或吸收无功功率的方法和设备 | 2007/06/19 |
| 28 | CN101096942B | 风能系统及其操作方法 | 2007/07/02 |
| 29 | CN101166010B | 用于操作电机的方法和设备 | 2007/10/19 |
| 30 | CN103414411B | 用于操作电机的方法和设备 | 2007/10/19 |
| 31 | CN101230836B | 风力涡轮机翼型族 | 2008/01/09 |
| 32 | CN101235799B | 用于优化风力涡轮机操作的方法 | 2008/02/02 |
| 33 | CN101240772B | 转子叶片、带转子叶片的风能系统 | 2008/02/03 |
| 34 | CN101640419B | 用于紧密耦合的风力场的区域内主无功控制器 | 2009/07/29 |
| 35 | CN101672252B | 风力涡轮机及其控制方法 | 2009/09/08 |
| 36 | CN101719676B | 风电场的电压控制系统和方法 | 2009/10/09 |
| 37 | CN104061123B | 用于风力发电机载荷控制的系统和方法 | 2014/03/19 |
| 38 | CN104976056B | 用于风力涡轮的推力速度控制的系统和方法 | 2015/04/14 |
| 39 | CN105065200B | 用于控制风电场的系统和方法 | 2015/04/29 |
| 40 | CN105041572B | 用于优化风电场操作的系统和方法 | 2015/04/29 |
>>> 结 语
从上面的分析可见,GE等国外企业在风电领域仍然具有技术领头羊地位,并且这些国外企业非常重视中国市场,已经在风电领域进行了大量的专利布局。
迄今为止,中国风电领域发生的知识产权纠纷案尚少,其中比较重大的是美国超导及其在中国投资的全资企业苏州美恩超导诉华锐风电科技侵犯计算机软件著作权和商业秘密纠纷案。而GE发起的针对西门子歌美飒的专利诉讼,目前也还只是局限在美国战场。
然而,暴风雨来临之前海面总是平静的,面对暂时的风平浪静,中国企业不可掉以轻心啊!
400-883-1990
华进官方微信公众号
Copyright © 2021 电子游戏app.All Rights Reserved.粤ICP备12081038号